티스토리 뷰
목차

연말정산할 때 빠뜨 공제항목이 있다면, 추가로 신고가 가능합니다.
연말정산에서 공제받지 못한 부분을 추가로 환급 신청할 수 있는 방법 알려드리겠습니다.
빠뜨린 연말정산 추가 공제 방법
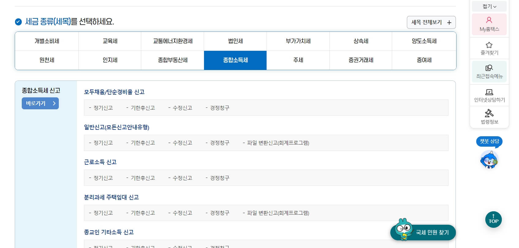
종합소득 과세표준 확정신고 시, 누락된 소득, 세액 공제 반영 신청 가능
홈택스 > 신고/납부 세금 신고 > 종합소득세 > 근로소득자 신고서(정기신고 작성) > 연말정산 불러오기 > 누락분에 대한 수정사항 입력 후 신고서 제출 > 증빙서류 제출
연말정산 경정청구 신청하기
원천징수 의무자가 연말정산 세액을 납부하고 법정신고 기한(다음 연도 5월 31일)으로부터 5년 이내 경정청구 가능
홈택스 > 신고/납부 세금 신고 > 세금신고 > 종합소득제 > (근로소득자) 경정청구 > 근로소득 경정청구 대상연도 선택 > 소득, 세액 공제 명세서 및 부속서류 조회 후 공제항목 수정 > 경정청구서 제출 > 부속서류 제출



경정청구 자동작성 서비스
회사(원천징수의무자)가 제출한 근로소득지급명세서(원천징수영수증)를 기초로 하여 근로자의 연말정산 신고내용을 미리 채워주고 근로자가 수정 사항을 입력하면 환급 예상 세액을 계산하고 경정청구서를 자동 작성하여 제공하는 서비스
근로소득 경정청구 자동작성 서비스 이용 제외 대상자
- 기납부세액을 전액 환급받은 연말정산 결정세액이 0원인 근로자
- 같은 해에 두 군데 이상의 회사에 근무하였으나 최종 근무한 회사의 연말정산 시 종전 회사의 급여를 합산하지 않을 경우
- 두 군데 이상의 회사에 근무하여 최종 근무한 회사의 연말정산 시 종전 회사의 급여를 합산했지만, 지급명세서상 종전 회사의 총급여액이 일치하지 않는 경우
- 연말정산과 별도로 종합소득세를 신고를 하였거나 세무서에서 종합소득세 고지를 받은 근로자
- 세액 계산 결과 환급 세액이 발생하지 않거나 추가 납부세액이 발생한 근로자
경정청구 자동작성 서비스 이용 제외 대상자인 경우는 서면으로 경정청구서를 작성하여 관할 세무서에 제출해야 합니다.
근로 소득 외 종합 과세 되는 다른 소득이 있는 경우, 종합 소득세 경정청구 또는 기한 후 신고 이용해야 합니다.
이 외에도 회사에서 제출한 지급 명세서에 오류가 있는 경우에는 경정청구를 수정할 수 없기 때문에 회사에서 근로소득 지급 명세서를 수정하여 제출하거나 회사를 통해 경정 청구를 해야합니다.


연말정산 시 소득 세액 공제를 과다하게 받은 경우는?
- 홈택스 > 신고/납부 > 세금 신고 > 종합 소득세 > 근로소득자 신고서(정기신고 작성)
- 종합 소득세 과세표준 확정 이후 단계인 경우는 원천징수 의무자 통한 연말정산 수정신고 또는 종합소득세 과세표준 확정신고를 주소지 관할세무서에 수정신고
연말정산 시 과다하게 소득, 세액 공제를 받은 경우 추가 납부 세액과 별도로 가산세 부담하게 되는데, 이때 법정신고 기한 경과 후 2년 이내 수정신고 시 가산세가 경감됩니다.
연말정산 경정청구 기간
소득 귀속연도가 2018년인 경우는 2019년 6월 1일부터 2024년 5월 31일까지 청구 가능하며, 2019년이 소득 귀속 연도인 경우는 2020년 6월 1일부터 2026년 5월 31일까지 청구가 가능합니다. 경정청구를 한 경우 세액 환급은 2개월 내에 처리됩니다. 매년 6월 1일부터 내년 5월 31일 마감인 청구 기간 중에 올해는 2019년 연말정산 경정청구가 가능하니 기간 놓치지 말고 꼭 경정청구 하시기 바랍니다.

'정부 지원 및 정책' 카테고리의 다른 글
| 종합 소득세 신고 대상과 기간 및 절세 방법 (0) | 2024.04.29 |
|---|---|
| 5월 전국 동행축제, 먹고 즐길 거리와 할인 혜택 (0) | 2024.04.26 |
| 그린카드 사용하고 에코머니 적립받기 (1) | 2024.04.15 |
| 청년월세 지원 거주 요건 폐지와 신청 방법 (0) | 2024.04.13 |
| 수도 경기권 복지 사업 (보일러 설치 청년 지원 통장 임대주택 신청) (1) | 2024.04.12 |